гибкий шланг обычно которым наращивают у нас есть, 200р метр ну а хомуты обычные, везде естьВозможно и так...Тогдаб предложение.. насчет прокладок человечку
Хотя.. сначало бы.. разъеденить.. или просто понять откуда течет...Может бытьтам уже шланги от усталости слоятся.Да плюс он грил - что они у него гибкими нарощены
О! Нука глянем на хомуты которыми гибки к трубкам притянуты
Думаю.. что хомуты - под замену.. а шланги гибки натянуть поглубже.. коли длинна позволяет и опять же.. посадить на новые хомуты..
<{POST_SNAPBACK}>
Приобрел Исудзу Течет масло
#41
Отправлено 30 января 2006 - 15:28
#42
Отправлено 30 января 2006 - 18:51
Я думаю,что лучше заглушить и не мучится. Туда подлезть нужно еще умудриться . Все находится в щели между двигателем и крылом.Спереди подвеска,сзади колектор.Пальцами еле достаеш не то что ключем, наверное лучше заглушить и не думать.Трубки идут на радиатор доп охлаждения масла, продаются с радиатором в сборе под заказ оринтировачно 7600р 2-3 недели. В принципе многие просто глушат и незамарачиваюися с этим, но дело хозяйское-кому что нравится. Сальник коленвала передний 524р оригинал в наличии, задний 1227р оригинал в вналичии.
<{POST_SNAPBACK}>
#43
Отправлено 31 января 2006 - 14:46
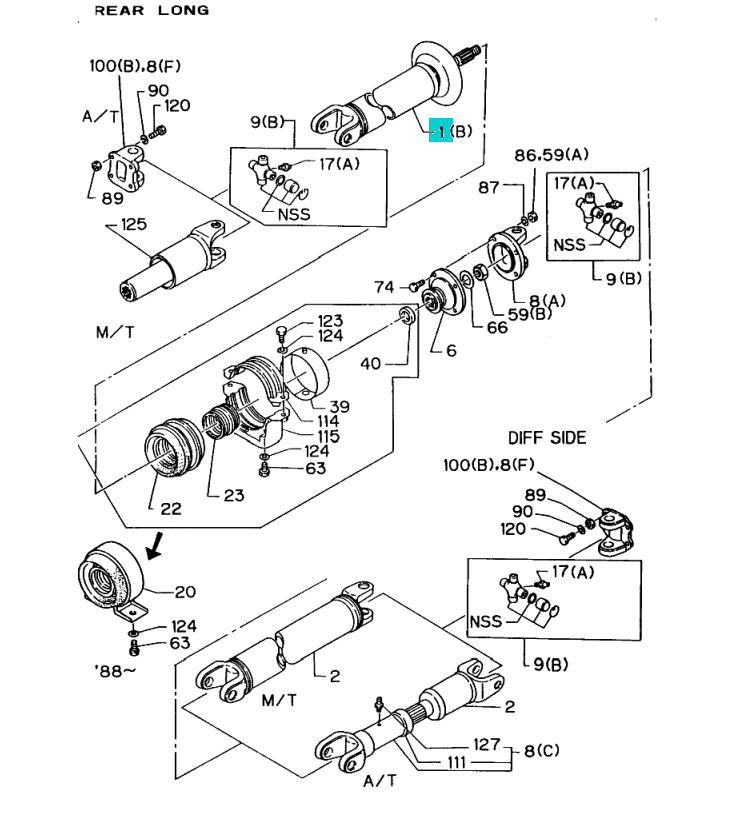
А вопрос еще можно..Карданный вал между задней осью и подвесным подшипником состоит из двух частей через шлицевое соединение. Он должен быть подвижен в этих шлицах. А то у меня там все приржавело????. Схемку бы какую нибудь или книжку путевую.Я думаю,что лучше заглушить и не мучится. Туда подлезть нужно еще умудриться . Все находится в щели между двигателем и крылом.Спереди подвеска,сзади колектор.Пальцами еле достаеш не то что ключем, наверное лучше заглушить и не думать.
<{POST_SNAPBACK}>
#44
Отправлено 31 января 2006 - 17:14
вообще должен быть подвижен.такая схемка подойдет??? по поводу книжецы на заказ, тока на англ.яз. зато без касяков разного рода.А вопрос еще можно..Карданный вал между задней осью и подвесным подшипником состоит из двух частей через шлицевое соединение. Он должен быть подвижен в этих шлицах. А то у меня там все приржавело????. Схемку бы какую нибудь или книжку путевую.
<{POST_SNAPBACK}>
#45
Отправлено 02 февраля 2006 - 23:31
З\части по движку в смысле прокладки спрашивать Люмина Вэн 91г. Полный комплект \верхний - 1856р нижний - 1580р \там есть все и маслосъемные колпачки и сальники коленвала и т.д. Даже если будешь менять только сальники колвала то остальные про запас не повредят. По отдельности все стоит на много дороже.Приобрел Исудзу Трупер. Течет масло сверху по левой стороне двигателя, по стыку с коробкой. Сначало думал из под клапанной крышки - нет.Откуда может еще теч и как устранить проблемму? Машина 91г. Американец двигательV-6 2.8л163 л.с Где в Москве можно найти запчасти и разборки по Исудзу?
<{POST_SNAPBACK}>
#46
Отправлено 03 февраля 2006 - 20:22
А остальные запчасти по движку?Дело в том , что купил помпу на люмину, а она не подашла и в магазине мне сказали , что нужно спрашивать в американских магазинах именно Исузу и двиг 2,8 бензин, у них все бывает и тогда ошибок не будет.А у меня теперь долгоремонт. Взялся менять сальник хвостовика, зад мост. Оказалось, что кардан прржавел в своем шлицевом соединении (коробка автомат) два дня пытался разобрать и кувалдой и жидким ключем, сегодня вроде добил, все промыл,зачистил вроде все работает,а теперь ,как собрать чтобы не нарушить центровку (метки которые ставил стерлись пока колотил)??? Пока ковырялся с карданом, заметил ,что второй лист рессоры лопнул,рессору купил у Александра, а серьги все тертые на элипс , как их можно отремонтировать? Можно спилить пальцы, просверлить отверстия и заменить пальцы болтами?Короче ,чем больше ковыряюсь, тем больше всплывает косяков.З\части по движку в смысле прокладки спрашивать Люмина Вэн 91г. Полный комплект \верхний - 1856р нижний - 1580р \там есть все и маслосъемные колпачки и сальники коленвала и т.д. Даже если будешь менять только сальники колвала то остальные про запас не повредят. По отдельности все стоит на много дороже.
<{POST_SNAPBACK}>
#47
Отправлено 03 февраля 2006 - 22:35
Заменить в серьгах оси болтами нельзя, резьба моментально изуродует втулки. Надо выточить новые пальцы, полностью повторяющие форму осей, собрать серьги, выровнять и приварить головки к боковой пластине. Подробно о ремонте серег в полудомашних условиях можно почитать здесь А лучше купить новые или подобрать от нашемарокПока ковырялся с карданом, заметил ,что второй лист рессоры лопнул,рессору купил у Александра, а серьги все тертые на элипс , как их можно отремонтировать? Можно спилить пальцы, просверлить отверстия и заменить пальцы болтами?Короче ,чем больше ковыряюсь, тем больше всплывает косяков.
<{POST_SNAPBACK}>
#48
Отправлено 04 февраля 2006 - 08:23
Во-во. Поразглядывай УАЗ, Газель. Серьги от газели по разговорам в конфе точно подходят.А лучше купить новые или подобрать от нашемарок
.
<{POST_SNAPBACK}>
#49
Отправлено 04 февраля 2006 - 08:45
Посмотри поиском, я в свое время даже фотки выкладывал как газелевские серьги сделать на нашу машинку. Там даже сварка не нужна, только дрель и пару болтов с втулкой от жигулей. Сейчас уж не помнб точно каких. В теме все было.Пока ковырялся с карданом, заметил ,что второй лист рессоры лопнул,рессору купил у Александра, а серьги все тертые на элипс , как их можно отремонтировать? Можно спилить пальцы, просверлить отверстия и заменить пальцы болтами?Короче ,чем больше ковыряюсь, тем больше всплывает косяков.
<{POST_SNAPBACK}>
#50
Отправлено 04 февраля 2006 - 09:06
#51
Отправлено 12 февраля 2006 - 08:23
Схемка подошла, спасибо. На английском книжка есть, носхемки там мелковаты. А теперь вопрос как правильно собрать вал в шлицах. Он же состоит из двух половинок с грузиками, в каком положении к друг другу они должны стоять?А то я собрал,вроде как было, но на скорости около 80км нарастает сильная вибрация.вообще должен быть подвижен.такая схемка подойдет??? по поводу книжецы на заказ, тока на англ.яз. зато без касяков разного рода.
<{POST_SNAPBACK}>
#52
Отправлено 18 февраля 2006 - 17:22
А только шланги, нельзя заказать?Трубки идут на радиатор доп охлаждения масла, продаются с радиатором в сборе под заказ оринтировачно 7600р 2-3 недели. В принципе многие просто глушат и незамарачиваюися с этим, но дело хозяйское-кому что нравится. Сальник коленвала передний 524р оригинал в наличии, задний 1227р оригинал в вналичии.
<{POST_SNAPBACK}>
#53
Отправлено 19 февраля 2006 - 17:19
оригинал нельзя, в наличии есть обычный резиновый шланг для этого 200р-1мА только шланги, нельзя заказать?
<{POST_SNAPBACK}>
#54
Отправлено 20 февраля 2006 - 08:23
Да мне наши ремонтеры сказали ,давай оригинал, а сопли крутить не будем. Заберу завтра машину из ремонта, буду сам разбираться, тогда может и шланг куплю и сам поставлю. Просто в гараже было холодно и ямы нет.оригинал нельзя, в наличии есть обычный резиновый шланг для этого 200р-1м
<{POST_SNAPBACK}>
#55
Отправлено 26 сентября 2014 - 10:33
Оживим некропост. Нашелся на просторах нашей Родины автомобиль с подобным двигателем, у которого течет антифриз где-то около коробки. Что там может быть?
#57
Отправлено 27 сентября 2014 - 11:42
Приобрел Исудзу...
А накуя?
За прошедшие восемь лет он её уже продал давно и забыл уже, наверное.
#58
Гость_Asturn_*
Отправлено 27 сентября 2014 - 12:52
Оживим некропост. Нашелся на просторах нашей Родины автомобиль с подобным двигателем, у которого течет антифриз где-то около коробки. Что там может быть?
подобный это какой?читать всё лень


